跳至内容
  • 首页
  • 采购招标
  • 产品规格
  • 行业报告
  • 科研探索
  • 程序开发
  • 美国专利
  • XR工厂
  • Meta财报
  • Steam报告
  • GDC报告
36f465e288a732ff0e4cdc1c9c6f14f5-thumb-standard

采购招标

2026年05月21日 广东客

阿克苏丝路顺水数字文化14万采购VR剧场设备物料

00d0594449b7afe18c52a6e29bf03b87-thumb-standard

美国专利

2026年05月18日 广东客

谷歌专利提出兼具轻薄外形与大视场的AR光学组合器

81ca7778a6820acbc5fe054393e71713-thumb-standard

采购招标

2026年05月12日 ovaliu

哈尔滨幼师高专40万元招标航空VR教学系统

ed59b81bec0ff3fc2db48cd38240b8b2-thumb-standard

采购招标

2026年04月17日 广东客

阿克陶县中等职业技术学校395万元招标建设汽车VR虚拟仿真实训基地

00f642111451100b2dca488c8855ce44-thumb-standard

美国专利

2026年02月10日 ovaliu

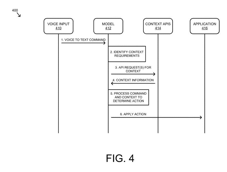
谷歌专利提出基于多模态感知的XR设备模糊指令处理方法

04d116a5a72d7b12e3525aa65ce60d40-thumb-standard

美国专利

2026年02月02日 ovaliu

谷歌提出 AR/VR 设备 IMU 温度偏差补偿与空闲校准方法

03de5ebaef917e67778dbb8bf855e044-thumb-standard

美国专利

2026年01月28日 广东客

谷歌专利提出基于视觉惯性里程计的IMU自适应校准方法

5baa67b0e1fdeccb0eb971b47714035f-thumb-standard

美国专利

2025年12月30日 ovaliu

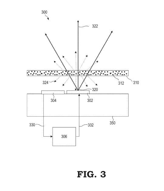
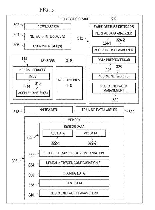
谷歌专利提出基于惯性声学传感器的VR手势识别方案

0ca77d485f9988a1ca120aa9fee99a2b-thumb-standard

美国专利

2025年12月29日 广东客

谷歌XR专利提出基于光转换反馈的显示图像稳定方法

06b523e7fa2f4d422df4ec745e1068b8-thumb-standard

美国专利

2025年12月22日 ovaliu

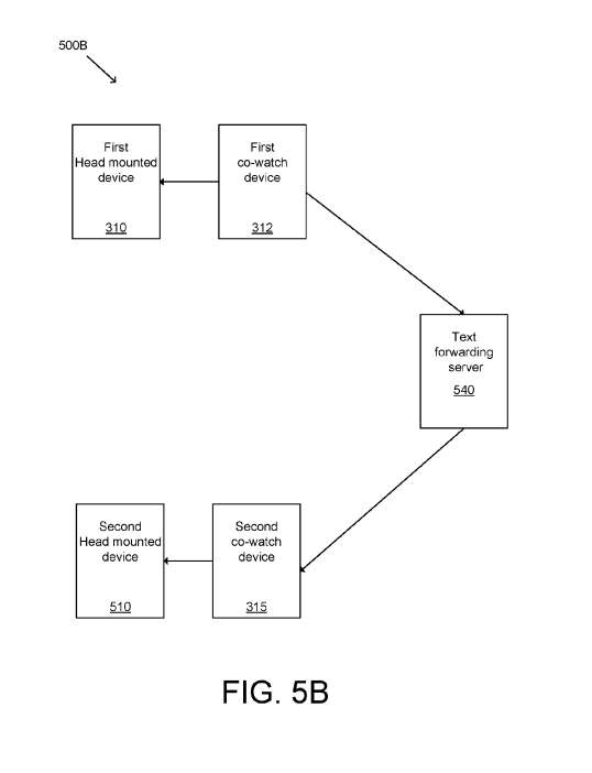
谷歌专利提出协同观看中的文字转译处理负载分配方法

第 1 页,共 50 页12345...102030...»最旧 »

关注:

产品规格

  • quest3s-specs-thumb-small

    Meta Quest 3S 规格参数

  • pico4_ultra-thumb-small

    PICO 4 Ultra 规格参数

  • vision_pro_specs-thumb-small

    Apple Vision Pro 规格参数

  • quest3-specs-thumb-small

    Meta Quest 3 规格参数

  • PICO-4-Pro-thumb-small

    PICO 4 Pro 规格参数

数据报告

  • 618-thumb-small

    京东618战报:AI眼镜销量翻7倍,PICO销售额XR设备TOP1登顶

  • 0e0020f2370ddc6de559ee1f5e268c0f-thumb-small

    IDC:2025Q1全球智能眼镜出货148.7万台,同比增长82.3%

  • ai_glasses_talk-thumb-small

    〔视频〕深度分享AI眼镜的困境与出路

  • quest-store-report-2025-thumb-small

    2025 Quest Store平台统计报告:开发者规模6年翻100倍,VR App数量已超1万款

  • 2024-11-amazon-meta-sales-thumb-small

    2024年假日季大促销Meta Ray-Ban和Quest 3S亚马逊销量统计

  • jd_rank-thumb-small

    2024年11月京东XR设备畅销榜销量统计

  • jd_rank-thumb-small

    2024年双11京东XR设备销量统计

  • 2023-xr-thumb-small

    2023年AR/VR行业简要总结

  • 2019-meta_quest_vr_gamer_report-thumb-small

    Meta Quest VR游戏玩家细分调查报告-2019年

联系微信:ovalics

版权所有:广州映维网络有限公司 © 2026

备案许可:粤ICP备17113731号-2

备案粤公网安备:44011302004835号

友情链接: AR/VR行业导航

读者QQ群:251118691

Quest QQ群:526200310

开发者QQ群:688769630