跳至内容
  • 首页
  • 采购招标
  • 产品规格
  • 行业报告
  • 科研探索
  • 程序开发
  • 美国专利
  • XR工厂
  • Meta财报
  • Steam报告
  • GDC报告
1402927d9b7421ec18bc252d89f480fd-thumb-standard

美国专利

2026年05月18日 ovaliu

Magic Leap专利介绍倾斜衍射光栅的晶体蚀刻制造方法

00d0594449b7afe18c52a6e29bf03b87-thumb-standard

美国专利

2026年05月18日 广东客

谷歌专利提出兼具轻薄外形与大视场的AR光学组合器

12a53b40124642e74c4d162afbde9aa5-thumb-standard

美国专利

2026年03月16日 广东客

高通专利提出XR智能自适应注视点成像方法

61f1248fc82b3757c5ac6d42c021d884-thumb-standard

美国专利

2026年03月16日 广东客

Meta专利提出用于虚拟现实环境的高效实时接触物理模拟方法

4bda5bfd503cf0181f25276c5f9fd565-thumb-standard

美国专利

2026年03月05日 广东客

Meta专利提出基于应变传感与电机驱动的可编程触觉反馈系统

1d6d517944ad88eef505509f9bc53e17-thumb-standard

美国专利

2026年03月03日 广东客

苹果XR专利提出设备端多图像融合与修复方法

5531e585156c529983f1830ade92e036-thumb-standard

美国专利

2026年02月13日 ovaliu

苹果申请 XR 流量主动丢包专利提升 5G 传输精准性

13cd2318e15ecb96cb8c58b369cf4313-thumb-standard

美国专利

2026年02月11日 广东客

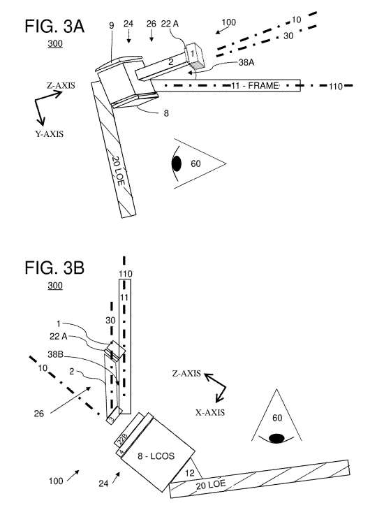
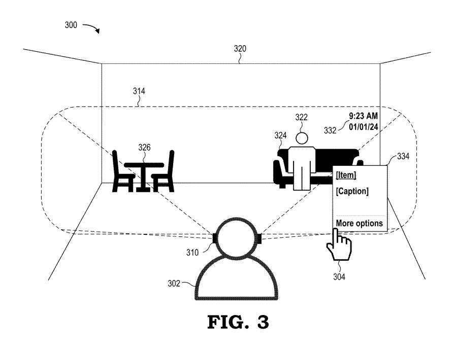
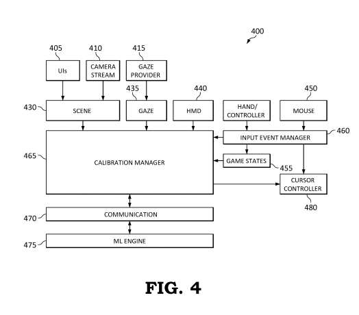
微软专利提出用于MR头显的集成式显示对准监测与校准系统

00f642111451100b2dca488c8855ce44-thumb-standard

美国专利

2026年02月10日 ovaliu

谷歌专利提出基于多模态感知的XR设备模糊指令处理方法

2aa2803535b019bd2cc6b147c00e36c1-thumb-standard

美国专利

2026年02月02日 ovaliu

苹果提出 XR 动态邻近边界检测系统保障用户物理安全

第 1 页,共 151 页12345...102030...»最旧 »

关注:

产品规格

  • quest3s-specs-thumb-small

    Meta Quest 3S 规格参数

  • pico4_ultra-thumb-small

    PICO 4 Ultra 规格参数

  • vision_pro_specs-thumb-small

    Apple Vision Pro 规格参数

  • quest3-specs-thumb-small

    Meta Quest 3 规格参数

  • PICO-4-Pro-thumb-small

    PICO 4 Pro 规格参数

数据报告

  • 618-thumb-small

    京东618战报:AI眼镜销量翻7倍,PICO销售额XR设备TOP1登顶

  • 0e0020f2370ddc6de559ee1f5e268c0f-thumb-small

    IDC:2025Q1全球智能眼镜出货148.7万台,同比增长82.3%

  • ai_glasses_talk-thumb-small

    〔视频〕深度分享AI眼镜的困境与出路

  • quest-store-report-2025-thumb-small

    2025 Quest Store平台统计报告:开发者规模6年翻100倍,VR App数量已超1万款

  • 2024-11-amazon-meta-sales-thumb-small

    2024年假日季大促销Meta Ray-Ban和Quest 3S亚马逊销量统计

  • jd_rank-thumb-small

    2024年11月京东XR设备畅销榜销量统计

  • jd_rank-thumb-small

    2024年双11京东XR设备销量统计

  • 2023-xr-thumb-small

    2023年AR/VR行业简要总结

  • 2019-meta_quest_vr_gamer_report-thumb-small

    Meta Quest VR游戏玩家细分调查报告-2019年

联系微信:ovalics

版权所有:广州映维网络有限公司 © 2026

备案许可:粤ICP备17113731号-2

备案粤公网安备:44011302004835号

友情链接: AR/VR行业导航

读者QQ群:251118691

Quest QQ群:526200310

开发者QQ群:688769630