跳至内容
  • 首页
  • 采购招标
  • 产品规格
  • 行业报告
  • 科研探索
  • 程序开发
  • 美国专利
  • XR工厂
  • Meta财报
  • Steam报告
  • GDC报告
6dffbab1c71c6fe2da206727e00a4571-thumb-standard

科研探索

2026年03月31日 ovaliu

颅骨振动,未来登录XR设备的新密码?

ff64911abba21a0fff22f0ef86857452-thumb-standard

科研探索

2026年03月18日 ovaliu

VRGaussianAvatar:用一张照片生成3D虚拟人,实现实时VR驱动

4bda5bfd503cf0181f25276c5f9fd565-thumb-standard

美国专利

2026年03月05日 广东客

Meta专利提出基于应变传感与电机驱动的可编程触觉反馈系统

6aaec29407287b65cc34a003c5eae593-thumb-standard

科研探索

2026年02月26日 广东客

告别昂贵设备与人工标注:Meta以数据驱动方式重塑VR面部追踪

13cd2318e15ecb96cb8c58b369cf4313-thumb-standard

美国专利

2026年02月11日 广东客

微软专利提出用于MR头显的集成式显示对准监测与校准系统

00f642111451100b2dca488c8855ce44-thumb-standard

美国专利

2026年02月10日 ovaliu

谷歌专利提出基于多模态感知的XR设备模糊指令处理方法

2aa2803535b019bd2cc6b147c00e36c1-thumb-standard

美国专利

2026年02月02日 ovaliu

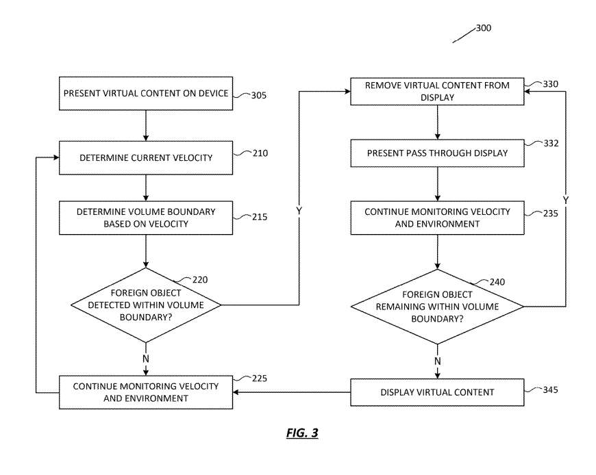
苹果提出 XR 动态邻近边界检测系统保障用户物理安全

04d116a5a72d7b12e3525aa65ce60d40-thumb-standard

美国专利

2026年02月02日 ovaliu

谷歌提出 AR/VR 设备 IMU 温度偏差补偿与空闲校准方法

03de5ebaef917e67778dbb8bf855e044-thumb-standard

美国专利

2026年01月28日 广东客

谷歌专利提出基于视觉惯性里程计的IMU自适应校准方法

73c7758c32e17dc6c3e994633af324c0-thumb-standard

美国专利

2026年01月26日 ovaliu

苹果XR专利提出基于天线阻抗感测的手势识别方法

第 1 页,共 101 页12345...102030...»最旧 »

关注:

产品规格

  • quest3s-specs-thumb-small

    Meta Quest 3S 规格参数

  • pico4_ultra-thumb-small

    PICO 4 Ultra 规格参数

  • vision_pro_specs-thumb-small

    Apple Vision Pro 规格参数

  • quest3-specs-thumb-small

    Meta Quest 3 规格参数

  • PICO-4-Pro-thumb-small

    PICO 4 Pro 规格参数

数据报告

  • 618-thumb-small

    京东618战报:AI眼镜销量翻7倍,PICO销售额XR设备TOP1登顶

  • 0e0020f2370ddc6de559ee1f5e268c0f-thumb-small

    IDC:2025Q1全球智能眼镜出货148.7万台,同比增长82.3%

  • ai_glasses_talk-thumb-small

    〔视频〕深度分享AI眼镜的困境与出路

  • quest-store-report-2025-thumb-small

    2025 Quest Store平台统计报告:开发者规模6年翻100倍,VR App数量已超1万款

  • 2024-11-amazon-meta-sales-thumb-small

    2024年假日季大促销Meta Ray-Ban和Quest 3S亚马逊销量统计

  • jd_rank-thumb-small

    2024年11月京东XR设备畅销榜销量统计

  • jd_rank-thumb-small

    2024年双11京东XR设备销量统计

  • 2023-xr-thumb-small

    2023年AR/VR行业简要总结

  • 2019-meta_quest_vr_gamer_report-thumb-small

    Meta Quest VR游戏玩家细分调查报告-2019年

联系微信:ovalics

版权所有:广州映维网络有限公司 © 2026

备案许可:粤ICP备17113731号-2

备案粤公网安备:44011302004835号

友情链接: AR/VR行业导航

读者QQ群:251118691

Quest QQ群:526200310

开发者QQ群:688769630