跳至内容
  • 首页
  • 采购招标
  • 产品规格
  • 行业报告
  • 科研探索
  • 程序开发
  • 美国专利
  • XR工厂
  • Meta财报
  • Steam报告
  • GDC报告
9d733ba60d369337c5e9aaa4636a2cd5-thumb-standard

科研探索

2026年01月19日 ovaliu

北京理工大学研发面向可变焦VR显示的衍射透镜消色差技术

17a9e9867b1aec300c391b75b1e648da-thumb-standard

美国专利

2026年01月16日 ovaliu

Meta专利提出XR增强内容的优先级呈现方法

fbbca7de8d4b7a5c66e1c6432db16240-thumb-standard

美国专利

2026年01月16日 广东客

Varjo XR专利提出基于曝光感知的HDR三维重建方法

29f8caaebf4555c1dcf1ccc723f47621-thumb-standard

采购招标

2026年01月16日 广东客

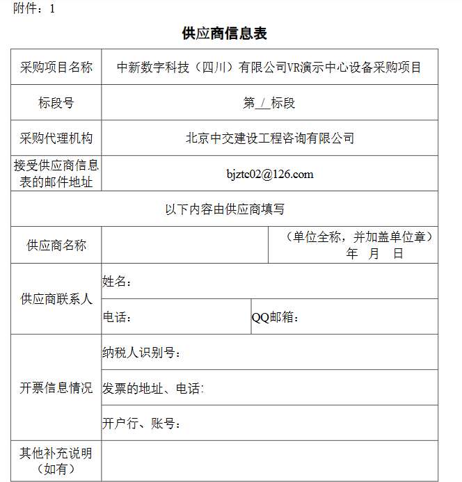
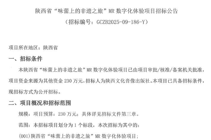
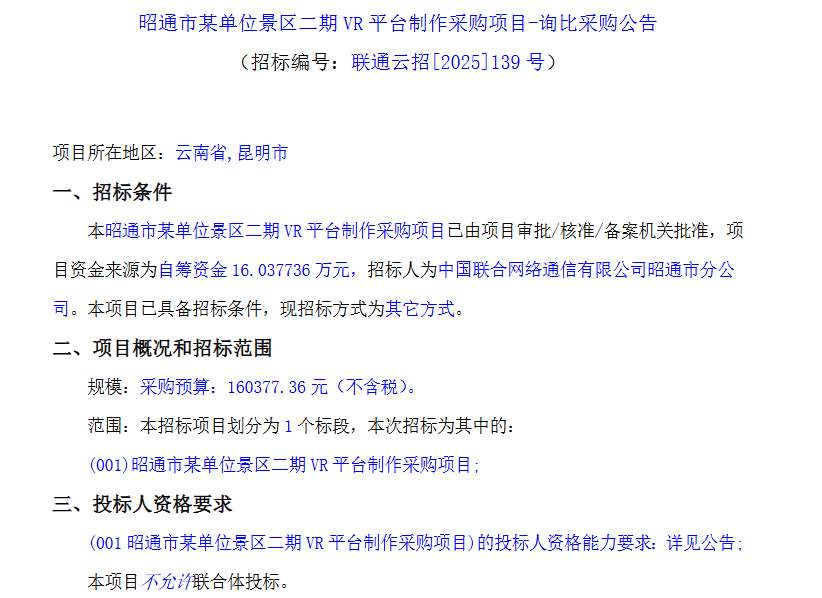
山东港口青岛港前港分公司采购VR实训基地设备

76f1a6da5ff930048a393cf72a1f0083-thumb-standard

采购招标

2026年01月16日 ovaliu

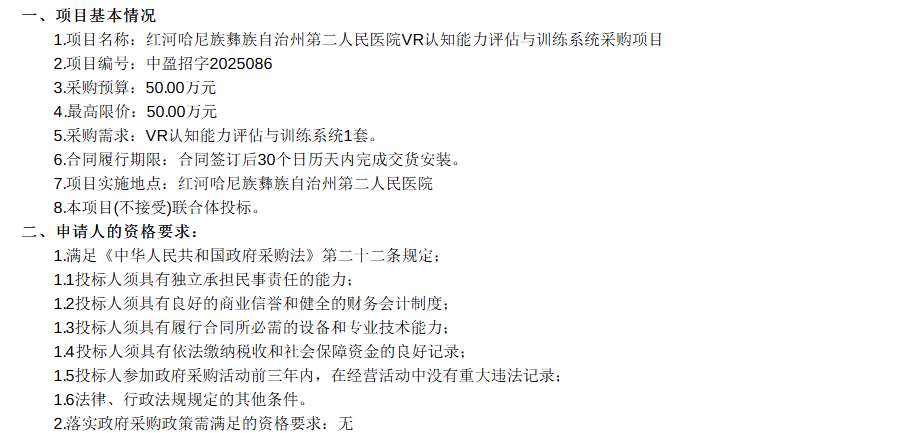
河北医科大学第一医院调研VR酒瘾评估和康复系统

31b2981087233849202156e804dd7dda-thumb-standard

采购招标

2026年01月16日 ovaliu

江苏航院155万元采购飞行模拟VR教学平台

01e01d634cc303fc30aca9f1fef2b314-thumb-standard

美国专利

2026年01月15日 广东客

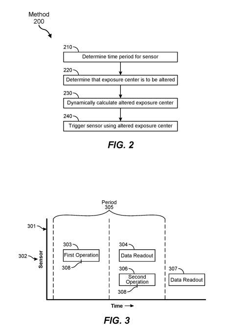
微软专利提出VR与远程协作的多视角真实环境融合与三维系统

0e5d7d05fac0a831753f170d78412662-thumb-standard

美国专利

2026年01月15日 ovaliu

苹果专利申请提出针对5G网络中XR业务的容量优化方案

7ffd4363fd3e6c04207804ffc5edbbb0-thumb-standard

采购招标

2026年01月15日 ovaliu

乌鲁木齐市第146中学126.1万元建设VR智慧教室

3279ce0962153bb5e5b3cf383aea744b-thumb-standard

采购招标

2026年01月15日 广东客

赣州市妇幼保健院9.95万元采购VR眼动认知评估与康复训练系统

第 10 页,共 214 页« 最新«...89101112...203040...»最旧 »

关注:

产品规格

  • quest3s-specs-thumb-small

    Meta Quest 3S 规格参数

  • pico4_ultra-thumb-small

    PICO 4 Ultra 规格参数

  • vision_pro_specs-thumb-small

    Apple Vision Pro 规格参数

  • quest3-specs-thumb-small

    Meta Quest 3 规格参数

  • PICO-4-Pro-thumb-small

    PICO 4 Pro 规格参数

数据报告

  • 618-thumb-small

    京东618战报:AI眼镜销量翻7倍,PICO销售额XR设备TOP1登顶

  • 0e0020f2370ddc6de559ee1f5e268c0f-thumb-small

    IDC:2025Q1全球智能眼镜出货148.7万台,同比增长82.3%

  • ai_glasses_talk-thumb-small

    〔视频〕深度分享AI眼镜的困境与出路

  • quest-store-report-2025-thumb-small

    2025 Quest Store平台统计报告:开发者规模6年翻100倍,VR App数量已超1万款

  • 2024-11-amazon-meta-sales-thumb-small

    2024年假日季大促销Meta Ray-Ban和Quest 3S亚马逊销量统计

  • jd_rank-thumb-small

    2024年11月京东XR设备畅销榜销量统计

  • jd_rank-thumb-small

    2024年双11京东XR设备销量统计

  • 2023-xr-thumb-small

    2023年AR/VR行业简要总结

  • 2019-meta_quest_vr_gamer_report-thumb-small

    Meta Quest VR游戏玩家细分调查报告-2019年

联系微信:ovalics

版权所有:广州映维网络有限公司 © 2026

备案许可:粤ICP备17113731号-2

备案粤公网安备:44011302004835号

友情链接: AR/VR行业导航

读者QQ群:251118691

Quest QQ群:526200310

开发者QQ群:688769630